Котел жидкотопливный напольный одноконтурный ПРОТЕРМ Бизон 220 NL
Код товара 2407654Задать вопрос
Написать отзыв
Делитесь опытом
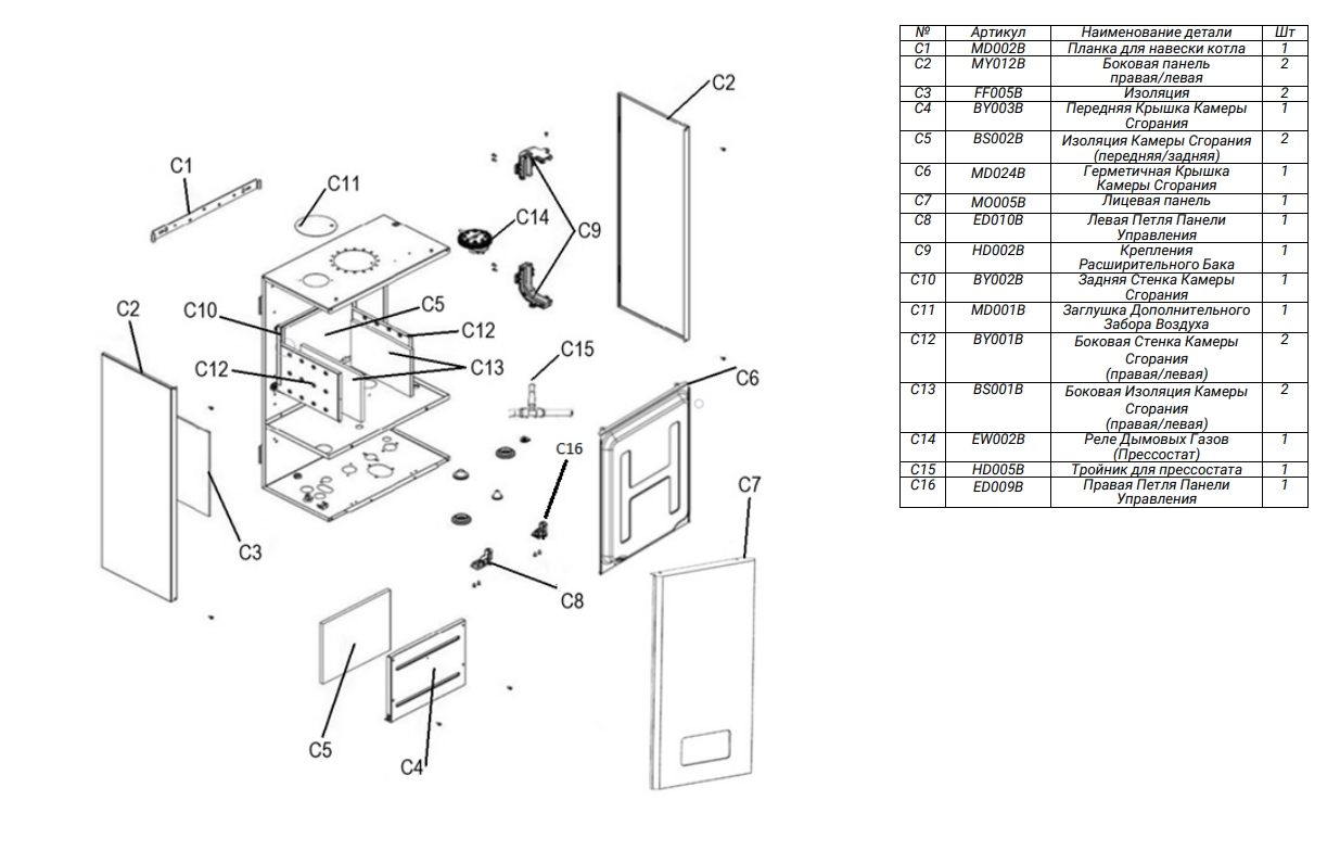
Чугунные котлы серии NL являются высоко производительными генераторами (выше 90%) горячей воды до температуры 90°C для центрального отопления. Котлы этого типа имеют высокий КПД, а также экстремально низкое содержание эмиссии NOx в атмосферу. При применении горелок типа LOW – NOx, данный котел выполняет требовательные европейские нормы охраны окружающей среды. Тело котла (звенья тела котла изготовлены из сверхпрочного чугуна) работает в режиме разрежения для всего диапазона допустимых мощностей. Тело котла сложено из следующих частей:
- Передняя часть с контрольными отверстиями и держателем для горелки на жидкое топливо.
- Средние звенья имеют форму, позволяющую высший переход тепла и при работе с низкими температурами. Количество звеньев разное в зависимости от мощности котла.
- Последнее звено, которое подсоединяется на трубопровод отопления, обратный трубопровод и на систему отвода продуктов сгорания (дымоход). Все части взаимно соединены с помощью конусообразных вставок. Стабильность конструкции достигнута соединительными стержнями, на которых расположены также подставки покрытия. Изоляция котла обеспечена толстым слоем стеклянной ваты, расположенной прямо на теле котла и в задней части. Корпус (покрытие) котла, изготовленный из дымогарной эмаллированной стальной жести очень простой, эффективный и позволяет доступ к отверстиям для контроля и обслуживания простым снятием передней панели (без использования какоголибо оборудования). Корпус также закрывает и защищает панель управления. Специальные данные для данного типа котла (тип, рабочее давление, максимальная температура, производственный номер и т.д.) приведены на производственной этикетке, помещенной в задней части котла.
ПРОТЕРМ
Словакия — родина бренда
Характеристики

Отзывы и вопросы о товаре
-
5
0%
-
4
0%
-
3
0%
-
2
0%
-
1
0%
Рекомендуем также
-
-
-
LAMBORGHINI
iXWATER H-2 800-2 Бак накопительный вертикальный
-
-
-
-
-
-
-
FEDERICA BUGATTI
FBEBS 1000 1 змеевик Бойлер косвенного нагрева
-
-
-
-
-
-
-
-
-
-
-
PFE R150 1 XM
-
-
-
-
-
-
-
-
-
-
BASIC R-E1448x599
-
-
CREDO-UNO-E1777x490
-
-
GENEOcircle-E1798x880
-
-
BC1S 150LCN
-
-
NHRE 18
-
-
ABS ANDRISLUX ECO 10
-
-
ABS ANDRISLUX ECO 30
-
-
ABSPLATINUMPLT PLUS PW
-
-
ABS PRO R80 V 1,8KPL
-
-
ABS PRO R80 V3623414
-
-
ABS PRO1 RDRY 100 V1,5K PL
-
-
ABS PRO1 RSLIM 65 V
-
-
ELITE 50
-
-
SHAPE 15 OR
-
-
SUPER GLASSSG HP 100HE 1,5
-
-
VELIS VLSLUX PW ABSEWIFI 100
-
-
VELIS VLSPW 803605210
-
-
VELIS VLSPW 1003700238
-
-
18390
-
-
18431
-
-
18452
-
-
18754
-
-
19400
-
-
5R050090
ITPIZZA5R050090 Тэн для MS1+1
-
-
5R050410
ITPIZZA5R050410 Тэн для ML6-66XL
-
-
AJ 141
-
-
INISOL UNOBESL 200 скомплектующими
-
-
20053264
BERETTA20053264 Датчик NTC бойлера (5м)
-
-
Classic 120(150L) GrayT, нерж.
-
-
Exclusive330
-
-
TOP М-2 210
-
-
LaggarTTIHT G 200