ФЛК d500 Фильтр кассетный круглый
Задвижка с мягким уплотнением для питьевой воды, сточных вод из санитарных и промышленных систем ABO S420 Dn 32 Pn 25
Код товара 1845223Задать вопрос
Написать отзыв
Делитесь опытом
Почему вы выбрали именно этот товар?
Для каких целей планируете использовать?
Устраивает ли вас соотношение цены и качества?
Не терпим нечестные отзывы, а также:
Мат, ругательства, оскорбления и угрозы
Контактную информацию, рекламу и прочее, не относящиеся к теме
Обсуждение цены товара и ее изменение
Отзывы по обслуживанию и сервису следует оставлять через раздел Гарантийное обслуживание, там они будут рассмотрены в обязательном порядке
Серия S420/S421 — это линейка задвижек с мягким уплотнением (resilient seated gate valves), разработанных чешским производителем ABO valve для систем водоснабжения и водоотведения. Предназначены для:
- Питьевой воды (сертификат WRAS)
- Промышленной воды
- Сточных вод из санитарных и промышленных систем
- Нейтральных жидкостей (non-aggressive liquids)
Расшифровка обозначения типа
| Позиция | Обозначение | Расшифровка |
|---|---|---|
| S | S | Серия задвижек (Soft seal / мягкое уплотнение) |
| 4 | 4 | Серия 400 (основная линейка) |
| 2 | 2 | Тип уплотнения шпинделя (2 = уплотнение по системе O-ring) |
| 0/1 | 0 или 1 | Стандарт "Face to Face": 0 = Series 15 (S420), 1 = Series 14 (S421) |
| XXX | 80, 100, 150 и т.д. | Номинальный диаметр DN (мм) |
Компания предлагает широкий ассортимент продукции и гарантирует высокое качество, долгую работоспособность. Уделяется большое внимание контролю и инновациям. Вся продукция прошла международную и европейскую сертификацию.
Чехия — родина бренда
Характеристики
Общие технические характеристики серии S420/S421
| Параметр | Значение |
|---|---|
| Тип корпуса | Фланцевый (Flanged) |
| Номинальные диаметры | DN32 — DN600 |
| Рабочее давление | 6 бар / 10 бар / 16 бар / 25 бар |
| Фланцевое соединение | PN10 / PN16 / PN25 по EN 1092-2 (DIN 2501) |
| Рабочая температура | от -20°C до +70°C |
| Рабочая среда | Питьевая вода, промышленная вода, сточные воды из санитарных и промышленных систем |
| Максимальная скорость потока | Жидкости — до 4 м/с; Газы — до 30 м/с |
| Уплотнение клина | NBR / EPDM, полностью вулканизированное |
| Материал корпуса и крышки | Чугун с шаровидным графитом EN-GJS-400-15 или EN-GJS-500-7 (EN 1563) |
| Материал клина | Латунь (DN32) / Чугун с шаровидным графитом (DN40-DN600) с резиновым покрытием EPDM/NBR |
| Шпиндель | Нержавеющая сталь 1.4021 (EN 10088-1), с накатанной резьбой |
| Покрытие | Эпоксидное, минимум 250 мкм (по EN 14091 / EN 14901) |
| Стандарт проектирования | EN 1074-1, EN 1074-2, EN 1171 |
| Стандарт гидроиспытаний | EN 12266-1 (корпус — 1,5×PN, уплотнение — 1,1×PN) |
| Сертификация | WRAS (сертификат для питьевой воды) |
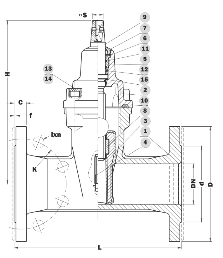
Материалы компонентов

| № | Наименование детали | Материал (DN32-DN350) | Материал (DN400-DN600) |
|---|---|---|---|
| 1 | Корпус (Body) | Чугун EN-GJS-400-15 или EN-GJS-500-7 | Чугун EN-GJS-400-15 или EN-GJS-500-7 |
| 2 | Крышка (Bonnet) | Чугун EN-GJS-400-15 или EN-GJS-500-7 | Чугун EN-GJS-400-15 или EN-GJS-500-7 |
| 3 | Клин (Wedge) | Латунь (DN32) / Чугун с резиной (DN40-DN350) | Чугун с резиной + ползун POM |
| 4 | Ползун клина (Wedge slider) | POM | POM |
| 5 | Уплотнительная пробка (Packing cork) | Латунь EN 1982 | — |
| 6 | Защитное кольцо (Protection ring) | Сталь 1.1260 | — |
| 7 | Очистная прокладка (Cleaning gasket) | EPDM или NBR | EPDM или NBR |
| 8 | Гайка шпинделя (Spindle nut) | Латунь EN 1982 | Латунь EN 1982 |
| 9 | Шпиндель (Spindle) | Нерж. сталь 1.4021 | Нерж. сталь 1.4021 |
| 10 | Прокладка корпус-крышка | EPDM или NBR | EPDM или NBR |
| 11, 12 | O-ring уплотнения | EPDM или NBR | O-ring уплотнения |
| 13 | Болты | Сталь Fe/Zn5, нерж. сталь | Сталь Fe/Zn5, нерж. сталь |
| 14 | Стопор воска (Screw stopper) | Воск | Воск |
| 15 | Шайба | Полиамид PA6 | — |
| 4* | Втулка уплотнительная | — | Латунь EN 1982 |
| 14* | Подшипник | — | По каталогу производителя |
Варианты исполнения и аксессуары
| Категория | Опция | Описание |
|---|---|---|
| Основные аксессуары | Стойка для электропривода | Pillar for electric actuator |
| Маховик | Handwheel | |
| Удлинитель шпинделя | Extension spindle | |
| Стойка с маховиком | Pillar with handwheel | |
| Варианты исполнения | Фланец ISO для привода | ISO top flange for actuator |
| Индикатор открытия | Opening indicator | |
| Индуктивный или электромеханический датчик | Inductive or electromechanical sensor | |
| Чугун EN-GJS-500-7 | Усиленный материал корпуса | |
| Электрический или пневматический привод | Electric or pneumatic actuator | |
| Нержавеющие болты корпуса и крышки | Stainless steel body and bonnet screws |
Информация о технических характеристиках, комплекте поставки, стране изготовления, внешнем виде и цвете товара носит справочный характер и основывается на последних доступных к моменту публикации сведениях
Отзывы и вопросы о товаре
Записей ещё нет — вы станете первым.
0
0 отзывов
- 5 0%
- 4 0%
- 3 0%
- 2 0%
- 1 0%